MN-371, Walker, MN 56484
For Sale $249,000.00
Prime commercial opportunity on MN-371 in Walker! Take advantage of this exceptional chance to own a spacious pole building on valuable commercial acreage along the high-visibility MN-371 corridor. This versatile property features a large drive-in door—perfect for office, service, or storage use. Whether you’re looking to launch, relocate, or expand your business, this affordable property offers the space and location to help you grow in the thriving Walker area.
- Purchase Price: $249,000.00
- Directions: From MN-371 (Minnesota Ave W) and Hwy 34 (Lake Country Scenic Byway) - West, then North on MN-371 approx. 2 miles - Property is on the West, directly South of Hoss’ All American Liquor
- Building Size Total (Sq. Ft): 1,008
- Building Size Main (Sq. Ft): 1,008
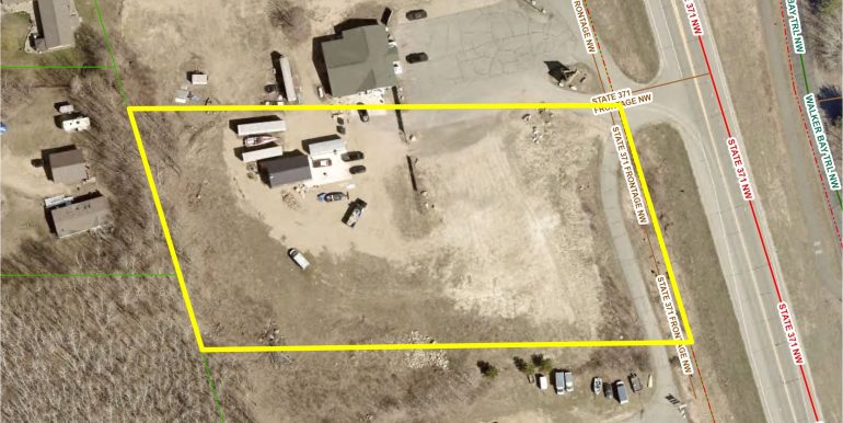
- Lot Size (Sq. Ft): 119,354
- Lot Size (Acres): 2.74
- Lot Dimensions: 250’ x 494.90’ x 253.57’ x 495.14’
- Road Frontage: 250’ on MN-371 NW and 250’ on MN-371 Frontage NW
- Property Tax Year: 2025
- Annual Property Tax: $1,964.00
- Water: None
- Sewer: None
- Heating: Wood Stove
- Cooling: None
- Electric – Amps: 100
- Electric – Phase: Single
- Lighting: Fixture
- Construction: Steel
- Foundation: Concrete
- Roof: Steel
- Exterior: Steel Siding
- Ceiling Height: 12'
- Overhead Doors: 1 (12'W x 10'H)
- Bathrooms: None
- Parking Spaces: Concrete Apron in Front of Building, Gravel to the South
- Neighboring Businesses: Hoss’ All American Liquor, AJ Heating & Cooling, WMS Sales & U-Haul, NECI, The Boulders, Spitzack Buildings, Lakes Area Powersports, Log Homes MN, Lampert’s Cabinets, Executive Interiors, Turf Tech Garden Center, Deans Bait, Pro-West & Associates, plus several Industrial Park businesses along with numerous other shops, offices and restaurants in Downtown Walker.
- Traffic Counts: 5,235 (2023) on Hwy 371 / Hwy 200 / Minnesota Ave W
- MLS #: 6724738
- CC File #: 1783
- Zoning: C-1 Commercial
- PID#: 38-116-3106
- Legal Description: Part of Govt Lot 3, Shingobee Township


















